
Аннотация
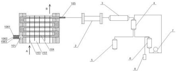
Настоящая полезная модель относится к области технологии органического синтеза и, более конкретно, относится к системе непрерывного производства ацетонитрила на основе фениламина. Производственная система включает последовательно соединенные микрореакторы, реакторы задержки, охлаждающие устройства и устройства для разделения фаз. Устройство для разделения фаз оснащено входом для жидкой фазы, выходом для масляной фазы и выходом для водной фазы. Выход масляной фазы соединен с устройством для грануляции с охлаждением, а выход водной фазы – с первым устройством вакуумного низкотемпературного испарения и дегидратации. Первое устройство вакуумного низкотемпературного испарения и дегидратации оснащено выпускным отверстием, которое соединено с
Вход устройства фазового разделения через циркуляционный насос. Данная полезная модель сочетает в себе микрореакторы и реакторы замедленного действия с точным контролем температуры, что позволяет избежать локального перегрева, который может привести к нежелательным реакциям, таким как полимеризация или разложение ацетонитрила на основе фениламина, что позволяет снизить содержание ХПК.
1.Система непрерывного производства ацетонитрила на основе фениламина, характеризующаяся последовательно соединенными микрореакторами, реакторами задержки, охлаждающим механизмом и устройством разделения фаз. Устройство разделения фаз оснащено входом для жидкой фазы, выходом для масляной фазы и выходом для водной фазы. Выход масляной фазы соединен с охлаждающим гранулятором, а выход водной фазы – с первым вакуумным низкотемпературным испарителем и дегидрататором. Первый вакуумный низкотемпературный испаритель и дегидрататор снабжен выпускным отверстием, которое соединено с входом устройства разделения фаз через циркуляционный насос.
2.Система непрерывного производства ацетонитрила на основе фениламина по п. 1, в которой в качестве микрореактора используется высокопроизводительный проточный микрореактор.
3.Система непрерывного производства ацетонитрила на основе фениламина по п. 1, в которой в качестве реактора замедленного действия используется дифференциальный реактор с боковым потоком.
4.Система непрерывного производства ацетонитрила на основе фениламина по п. 1, в которой в качестве устройства для разделения фаз используется автоматический фазовый сепаратор или центрифуга для разделения фаз жидкость-жидкость.
5.Система непрерывного производства ацетонитрила на основе фениламина по п. 1, в которой первое устройство вакуумного низкотемпературного испарения и дегидратации включает испаритель, в котором используется испаритель с падающей пленкой, ребойлер с принудительной циркуляцией или сифонный ребойлер.
6.Система непрерывного производства ацетонитрила на основе фениламина по п. 5, в которой в качестве испарителя используется испаритель с падающей пленкой.
7.Система непрерывного производства ацетонитрила на основе фениламина по п. 1, дополнительно включающая второе устройство вакуумного низкотемпературного испарения и дегидратации, расположенное между выходом масляной фазы и устройством охлаждения-грануляции устройства разделения фаз.
8.Система непрерывного производства ацетонитрила на основе фениламина по п. 7, в которой второе устройство вакуумного низкотемпературного испарения и дегидратации включает испаритель, в котором используется испаритель с падающей пленкой, ребойлер с принудительной циркуляцией или сифонный ребойлер.
Описание
Область техники
Данная полезная модель относится к области технологии органического синтеза, в частности к системе непрерывного производства ацетонитрила на основе фениламина.